| 一、使用条件 |
SPL、DPL型网片式油滤器适用于各种型号的稀油润滑装置的过滤,应用于石油、电力、化工、冶金、建材、轻工等各种工业部门以提高油的清洁度。
网片式油滤器分为SPL双筒系列和DPL 单筒系列、油滤器运行可靠,维修方便,不需要其他动力源,过滤元件为金属丝网制成的滤片,具有强度高,通油能力大,确保过滤精度,便于清洗等特点,SPL双筒系列能在主机运行过程中实现不停机转换和清洗。
|
|
| 二、技术参数 |
型号 |
公称通径DN |
额定流量m3/h(L/min) |
滤片尺寸mm |
双筒系列 |
单筒系列 |
内径 |
外径 |
SPL15 |
- |
15 |
2(33.4) |
20 |
40 |
SPL25 |
DPL25 |
25 |
5(83.4) |
30 |
65 |
SPL32 |
- |
32 |
8(134) |
SPL40 |
DPL40 |
40 |
12(200) |
45 |
90 |
SPL50 |
- |
50 |
20(334) |
60 |
125 |
SPL65 |
DPL65 |
65 |
30(500) |
SPL80 |
DPL80 |
80 |
50(834) |
70 |
155 |
SPL100 |
- |
100 |
80(1334) |
SPL125 |
- |
125 |
120(2000) |
90 |
175 |
SPL150 |
DPL150 |
150 |
180(3000) |
SPL200 |
DPL200 |
200 |
320(5334) |
|
1、最高工作温度95℃;
2、最高工作压力0.8MPa;
3、滤芯清洗压降0.15MPa;
4、试验介质粘度为24cSt 的清洁油液,当以额定流量通过油滤器时原始压降不大于0.08MPa。 |
| |
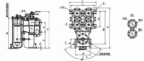
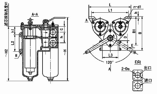
| 三、外形尺寸 |
SPL15~SPL40-C(侧置式) |
|
|
公称通径mm |
安装形式 |
外形尺寸mm |
拆卸高度mm |
管路连接尺寸mm |
管路安装尺寸 |
基座安装尺寸mm |
净重 |
DN |
|
H |
B |
L |
H1 |
D |
D0 |
C |
h |
L3 |
B1 |
H2 |
h1 |
L1 |
L2 |
b |
R |
n |
d1 |
kg |
15 |
C |
328 |
180 |
196 |
260 |
M30 X 2 |
22 |
38 |
55 |
88 |
155 |
291 |
88 |
166 |
80 |
12 |
16 |
4 |
12 |
9.5 |
20 |
C |
310 |
207 |
260 |
230 |
M33 2 |
26 |
34 |
65 |
90 |
177 |
258 |
90 |
230 |
100 |
12 |
15 |
4 |
15 |
11.5 |
25 |
D |
315 |
232 |
230 |
270 |
M39 X 2 |
34 |
34 |
65 |
90 |
185 |
265 |
90 |
156 |
100 |
12 |
15 |
2 |
16.5 |
12 |
C |
|
205 |
260 |
177 |
230 |
|
4 |
16.5 |
32 |
C |
380 |
207 |
260 |
330 |
60 X 60 |
38 |
34 |
65 |
96 |
175 |
330 |
50 |
230 |
100 |
12 |
15 |
4 |
16.5 |
12 |
40 |
C |
462 |
261 |
314 |
360 |
66 X 66 |
45 |
43 |
70 |
110 |
224 |
363 |
100 |
274 |
130 |
150 |
20 |
4 |
17 |
22 |
|
| 安装形式;D 为顶挂式C- 为侧置式,压差发讯器为选配。 |
SPL50~SPL80-C(侧置式) SPL50~SPL80-X(下置式) |
|
公称通径mm |
安装形式 |
外形尺寸mm |
拆卸高度mm |
管路连接尺寸mm |
管路安装尺寸 |
基座安装尺寸mm |
净重 |
DN |
|
H |
B |
L |
H1 |
D |
D0 |
C |
h |
L3 |
B1 |
H2 |
h1 |
L1 |
L2 |
b |
R |
n |
d1 |
kg |
50 |
X |
447 |
425 |
410 |
425 |
86X86 |
57 |
220 |
90 |
140 |
355 |
422 |
92 |
260 |
210 |
25 |
18 |
4 |
20 |
85 |
C |
400 |
355 |
412 |
350 |
130 |
65 |
X |
580 |
453 |
410 |
535 |
100X100 |
70 |
365 |
105 |
160 |
375 |
527 |
112 |
260 |
210 |
25 |
28 |
4 |
20 |
120 |
C |
423 |
425 |
517 |
350 |
150 |
80 |
D |
780 |
541 |
492 |
660 |
116X116 |
89 |
443 |
124 |
190 |
456 |
650 |
|
350 |
270 |
25 |
20 |
40 |
22 |
165 |
|
| 安装形式X- 为下置式C- 为侧置式 ()内尺寸为侧置式 压差发讯器为选配件 SPL80 提升机构见附图(一) |
SPL100~SPL125-X(下置式) |
|
公称通径mm |
外形尺寸mm |
滤芯拆卸高度mm |
管路连接尺寸mm
|
管路安装尺寸
|
基座安装尺寸mm
|
净重 |
DN |
H |
B |
L |
H1 |
D |
D0 |
C |
h |
L3 |
B1 |
H2 |
L1 |
L2 |
b |
R |
n |
d1 |
kg |
100 |
765 |
847 |
560 |
660 |
190 |
108 |
3360 |
200 |
687 |
300 |
640 |
500 |
330 |
20 |
32 |
4 |
22 |
370 |
125 |
850 |
900 |
605 |
760 |
215 |
133 |
385 |
225 |
682 |
340 |
730 |
540 |
270 |
20 |
320 |
4 |
22 |
420 |
|
| 法兰标准GB573:压差发讯器为选配件。 |
SPL150~SPL200-X(下置式) |
|
公称通径mm |
外形尺寸mm |
滤芯拆卸高度mm |
管路连接尺寸mm
|
管路安装尺寸
|
基座安装尺寸mm
|
净重 |
DN |
H |
B |
L |
H1 |
D |
D0 |
C |
h |
L3 |
B1 |
H2 |
L1 |
L2 |
b |
R |
n |
d1 |
kg |
100 |
890 |
1000 |
990 |
790 |
240 |
159 |
380 |
250 |
400 |
825 |
760 |
750 |
460 |
30 |
320 |
40 |
22 |
680 |
125 |
1058 |
1155 |
1180 |
945 |
310 |
219 |
450 |
315 |
440 |
960 |
910 |
920 |
520 |
30 |
40 |
4 |
34 |
800 |
|
DPL单筒网片滤油器 |
|
公称通径mm |
外形尺寸mm |
滤芯拆卸高度mm |
管路连接尺寸mm
|
管路安装尺寸
|
基座安装尺寸mm
|
净重 |
DN |
H |
B |
L |
H1 |
D |
D0 |
C |
h |
L3 |
B1 |
H2 |
L1 |
L2 |
b |
R |
n |
d1 |
kg |
25 |
315 |
130 |
135 |
270 |
管接头M39x2 |
310 |
34 |
60 |
70 |
264 |
139 |
100 |
90 |
12 |
15 |
4 |
16 |
6 |
40 |
440 |
143 |
173 |
360 |
66x66 |
14 |
36 |
70 |
80 |
364 |
177 |
130 |
125 |
14 |
20 |
4 |
18 |
12 |
65 |
580 |
195 |
285 |
535 |
100x100 |
70 |
79 |
105 |
105 |
517 |
261 |
165 |
150 |
18 |
25 |
4 |
22 |
25 |
80 |
700 |
238 |
320 |
685 |
185 |
89 |
99 |
120 |
128 |
630 |
310 |
170 |
170 |
180 |
25 |
4 |
22 |
30 |
|
DPL100~DPL200 |
|
公称通径mm |
外形尺寸mm |
滤芯拆卸高度mm |
管路连接尺寸mm
|
管路安装尺寸
|
基座安装尺寸mm
|
净重 |
DN |
H |
B |
L |
H1 |
D |
D0 |
C |
h |
L3 |
B1 |
H2 |
L1 |
L2 |
b |
R |
n |
d1 |
kg |
100 |
800 |
412 |
528 |
790 |
190 |
108 |
140 |
42 |
290 |
360 |
364 |
150 |
734 |
335 |
18 |
3 |
18 |
115 |
150 |
940 |
550 |
660 |
790 |
240 |
159 |
135 |
57 |
380 |
380 |
335 |
180 |
870 |
470 |
20 |
3 |
24 |
160 |
200 |
1050 |
612 |
750 |
945 |
310 |
219 |
135 |
57 |
438 |
400 |
368 |
180 |
980 |
550 |
20 |
3 |
24 |
210 |
|
| 法兰标准:GB573-65(可根据需要确定):DN100、150-3 组滤芯组件 DN200-4 组滤芯组件;压差发讯器为选配件。 |
序号NO |
公称网目数(参数)(目/英寸) |
网孔基本尺寸mm |
过滤精度(参考)UM |
金属丝直径 |
单位面积网重kg/m2 |
筛分面积百分率% |
相当英制目数(目/英寸) |
|
|
|
1 |
10 |
2.00 |
2000 |
0.400 |
0.933 |
0.949 |
0.841 |
69 |
10.58 |
2 |
20 |
1.00 |
1000 |
0.250 |
0.71 |
0.712 |
0.631 |
64 |
20.32 |
3 |
40 |
0.450 |
450 |
0.180 |
0.720 |
0.732 |
0.649 |
51 |
40.32 |
4 |
60 |
0.280 |
280 |
0.140 |
0.653 |
0.655 |
0.589 |
44 |
60.48 |
5 |
80 |
0.200 |
200 |
0.112 |
0.562 |
0.572 |
0.507 |
41 |
81.41 |
6 |
118 |
0.125 |
114 |
0.090 |
0.527 |
0.536 |
0.475 |
34 |
118.41 |
7 |
158 |
0.090 |
78 |
0.071 |
0.438 |
0.446 |
0.395 |
31 |
157.76 |
8 |
200 |
0.071 |
46 |
0.056 |
0.346 |
0.352 |
0.312 |
31 |
200 |
9 |
264 |
0.056 |
38 |
0.040 |
|
0.237 |
0.210 |
34 |
264.6 |
10 |
300 |
0.050 |
34 |
0.032 |
|
0.178 |
0.158 |
37 |
309.8 |
11 |
363 |
00.040 |
30 |
0.030 |
|
0.183 |
0.162 |
32 |
363 |
|
| |
| |
| |
| |
| |